The Beginning
2022重庆公租房续租结果公示(持续更新)
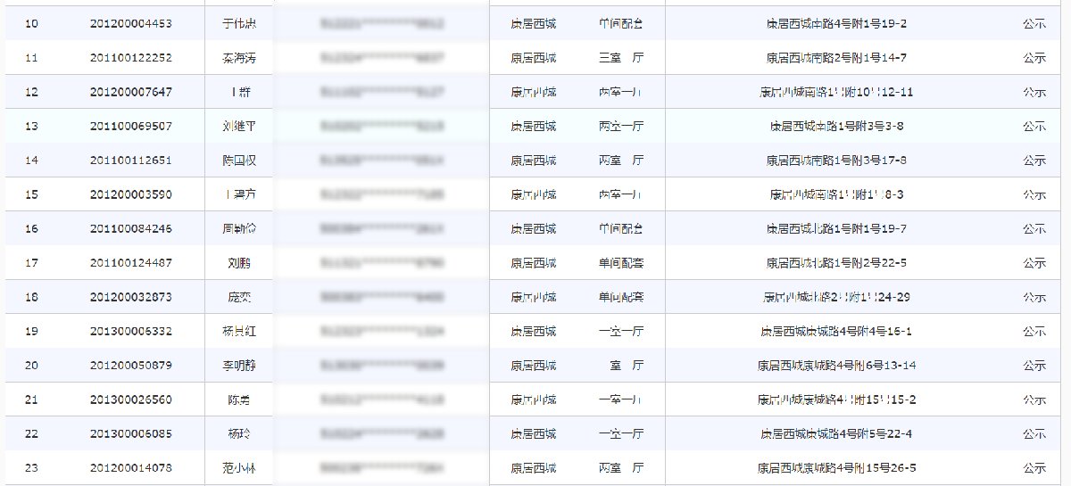
重庆市公租房续租结果公示

Empire CMS,phome.net
》》》点击查看更多名单《《《
【拓展阅读】公租房续租 公共租赁住房租赁期限一般不超过5年。如果想续租的朋友可以续租。 续租条件 公共租赁住房租赁合同满期,承租人和共同承租人符合公共租赁住房申请条件,且承租房屋户型符合配租标准,承租人可以续租原承租房屋。 公共租赁住房申请条件: 凡年满18周岁,在主城区有稳定工作和收入来源,具有租金支付能力的住房困难家庭,大中专院校及职校毕业后就业人员及进城务工、外地来主城区工作的无住房人员,均可在主城区申请公共租赁住房。
》》》
Empire CMS,phome.net
THE END
