首页 > 百科 > 地方特产

重庆公租房换租最新消息(重庆新的公租房开始发布)

来源: 更新时间:2022-05-18 07:07:46
The Beginning

  最新消息:更新至2022年3月9日

  重庆公租房换租配租结果公示:点击查看

拥有帝国一切,皆有可能。欢迎访问phome.net

图源:重庆市公共租赁房管理局

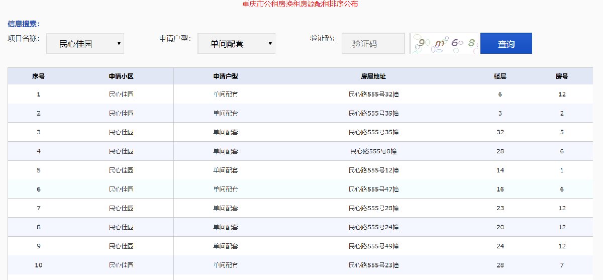
  重庆公租房换租房源配租排序公布:点击查看

拥有帝国一切,皆有可能。欢迎访问phome.net

图源:重庆市公共租赁房管理局

  重庆公租房换租申请结果查询点击查看

图源:重庆市公共租赁房管理局

  重庆公租房换租申请通过审核人员公示击查看

图源:重庆市公共租赁房管理局

    》》》

THE END

TAG:重庆市  重庆  点击查看  房管  最新消息  

猜你喜欢

相关文章