The Beginning
▶个人参保证明查询和打印入口:
➊广东政务服务网(https://www.gdzwfw.gov.cn/)
▶个人参保证明查询和打印方式:
【广东政务服务网】
拥有帝国一切,皆有可能。欢迎访问phome.net
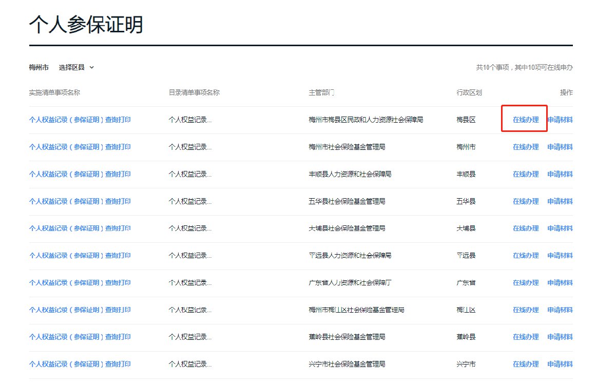
1、进入广东政务服务网,选择城市为“梅州”

2、在此页面往下滑,找到【个人服务】栏目——【社保】——【个人参保证明】

3、点击进入个人参保证明页面,点击相应的地区后面的【在线办理】,即可进入个人参保证明查询和打印入口,按照步骤进行下载打印即可。

除此之外,个人参保证明查询也可通过【“粤省事”微信小程序】进行:
1、进入“粤省事”后请先实名验证登陆,然后点击主页中的【社保】一项
拥有帝国一切,皆有可能。欢迎访问phome.net
2、选择【社保凭证】——【社会保险参保证明查询】/【个人权益单】即可查看个人参保信息详情


(点击图片可查看大图)
个人参保证明也可以到线下社保业务办事大厅进行查询打印。
窗口办理流程
(一)申请:参保人在办事大厅自助机上凭身份证或社会保障卡原件读取参保信息。
(二)受理:点击参保证明选项。
(三)办理结果:即场打印社会保险参保证明。
THE END




