首页 > 百科 > 地方特产

2020宁波鄞州两直补助申请方式+申请时间+受理点一览

来源: 更新时间:2022-09-24 08:29:18
The Beginning

  2020宁波鄞州两直补助申请方式+申请时间+受理点一览

  申报时间

  即日起至7月24日24时

  申报流程

  符合条件的小微企业和个体工商户通过线下申报的方式,到属地镇街服务中心或辖区市场监管所(联系方式详见附件),进行自主申报,随带相关资料(如营业执照、身份证原件、公章等)。

Empire CMS,phome.net

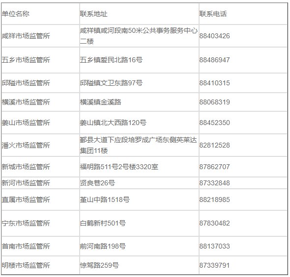
  鄞州区自主申报联系方式

  1、鄞州区各市场监管所联系方式

  

  2、各镇街联系方式

  

THE END

TAG:联系方式  自主  鄞州区  方式  时间  

猜你喜欢

相关文章