The Beginning
▶个人参保证明查询和打印入口:
广东政务服务网(https://www.gdzwfw.gov.cn/)
▶个人参保证明查询和打印方式:
1、进入广东政务服务网,选择城市为“梅州”
拥有帝国一切,皆有可能。欢迎访问phome.net
| Empire CMS,phome.net |
2、在此页面往下滑,找到【个人服务】栏目——【社保】——【个人参保证明】
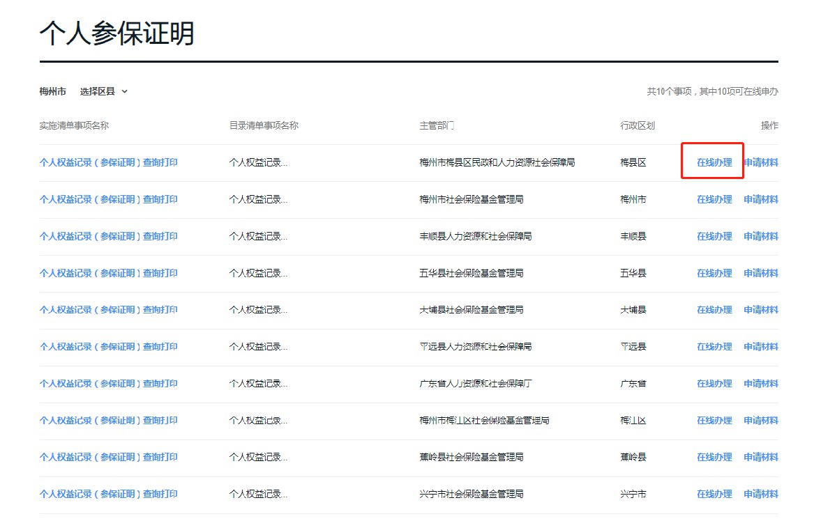
3、点击进入个人参保证明页面,点击相应的地区后面的【在线办理】,即可进入个人参保证明查询和打印入口,按照步骤进行下载打印即可。
除此之外,个人参保证明查询打印也可通过“粤省事”微信小程序进行,点此阅读查询方式:粤省事个人参保证明查询方式
THE END




